USP Icon
Zahlung nach der Lieferung
USP Icon
Kunden bewerten Zandri mit 9
USP Icon
Mehr als 100.000 Teile im Sortiment

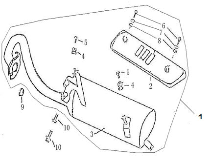
Auspuff Turbo RG50 dunkelblau

Auspuff Turbo RG50 dunkelblau
loader
Wird geladen...

Erstazteile Turbho RG50 Dunkelblau