USP Icon
Zahlung nach der Lieferung
USP Icon
Kunden bewerten Zandri mit 9
USP Icon
Mehr als 100.000 Teile im Sortiment

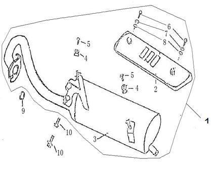
Auspuff Vom Bella Retro anthrazit

Auspuff Vom Bella Retro anthrazit
loader
Wird geladen...

Erstazteile Vom Bella Retro Anthrazit