USP Icon
Zahlung nach der Lieferung
USP Icon
Kunden bewerten Zandri mit 9
USP Icon
Mehr als 100.000 Teile im Sortiment

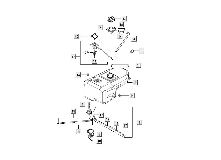
Benzintank Kymco People S 4-Takt Titanium

Benzintank Kymco People S 4-Takt Titanium
loader
Wird geladen...

Erstazteile Kymco People S 4-Takt Titanium