USP Icon
Zahlung nach der Lieferung
USP Icon
Kunden bewerten Zandri mit 9
USP Icon
Mehr als 100.000 Teile im Sortiment

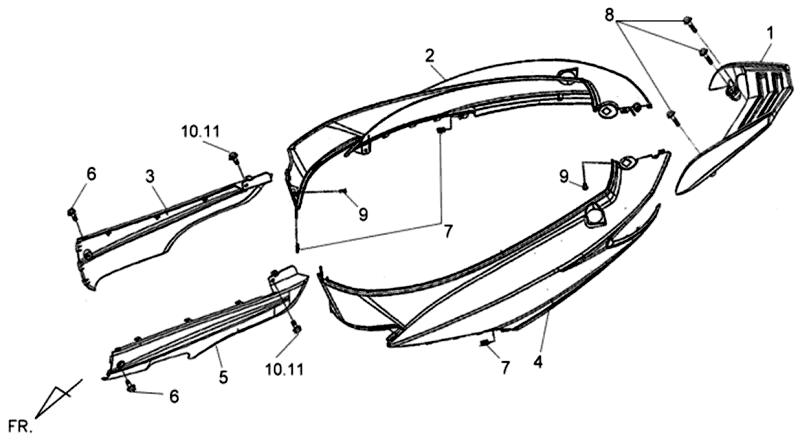
Beschichtung Sym Jet 4 (WH006) weiß

Beschichtung Sym Jet 4 (WH006) weiß
loader
Wird geladen...