USP Icon
Zahlung nach der Lieferung
USP Icon
Kunden bewerten Zandri mit 9
USP Icon
Mehr als 100.000 Teile im Sortiment

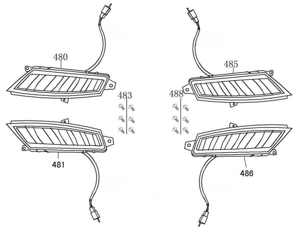
Blinker Benzhou YY50QT-45A schwarz

Blinker Benzhou YY50QT-45A schwarz
loader
Wird geladen...