USP Icon
Zahlung nach der Lieferung
USP Icon
Kunden bewerten Zandri mit 9
USP Icon
Mehr als 100.000 Teile im Sortiment

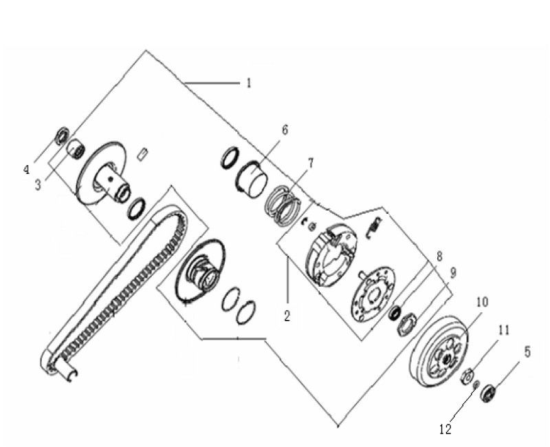
Kupplung Generic Xor schwarz 2009 2-Takt

Kupplung Generic Xor schwarz 2009 2-Takt
loader
Wird geladen...

Erstazteile Generic Xor Schwarz 2009 2-Takt