USP Icon
Zahlung nach der Lieferung
USP Icon
Kunden bewerten Zandri mit 9
USP Icon
Mehr als 100.000 Teile im Sortiment

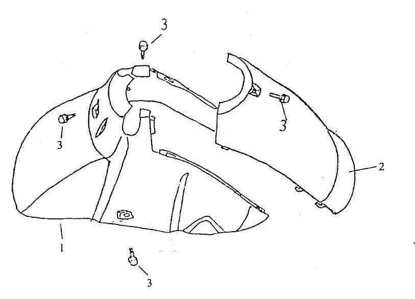
Kotflügel vorne Znen Grand Retro anthrazit

Kotflügel vorne Znen Grand Retro anthrazit
loader
Wird geladen...

Erstazteile Znen Aurora IV Anthrazit