USP Icon
Zahlung nach der Lieferung
USP Icon
Kunden bewerten Zandri mit 9
USP Icon
Mehr als 100.000 Teile im Sortiment

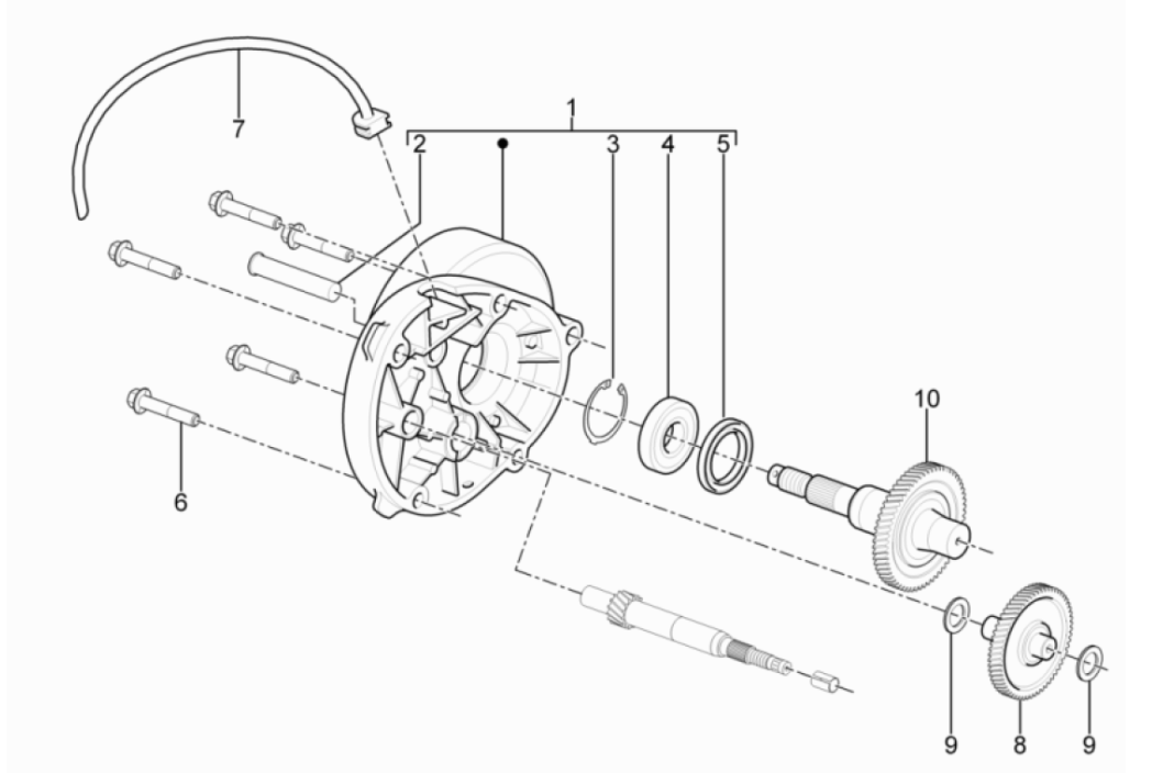
Getriebe - Piaggio Typhoon 50 2-Takt-Euro-3-Getriebe 2011

Getriebe - Piaggio Typhoon 50 2-Takt-Euro-3-Getriebe 2011
loader
Wird geladen...

Piaggio Typhoon 50 2T E3 2011 (EMEA)