USP Icon
Zahlung nach der Lieferung
USP Icon
Kunden bewerten Zandri mit 9
USP Icon
Mehr als 100.000 Teile im Sortiment

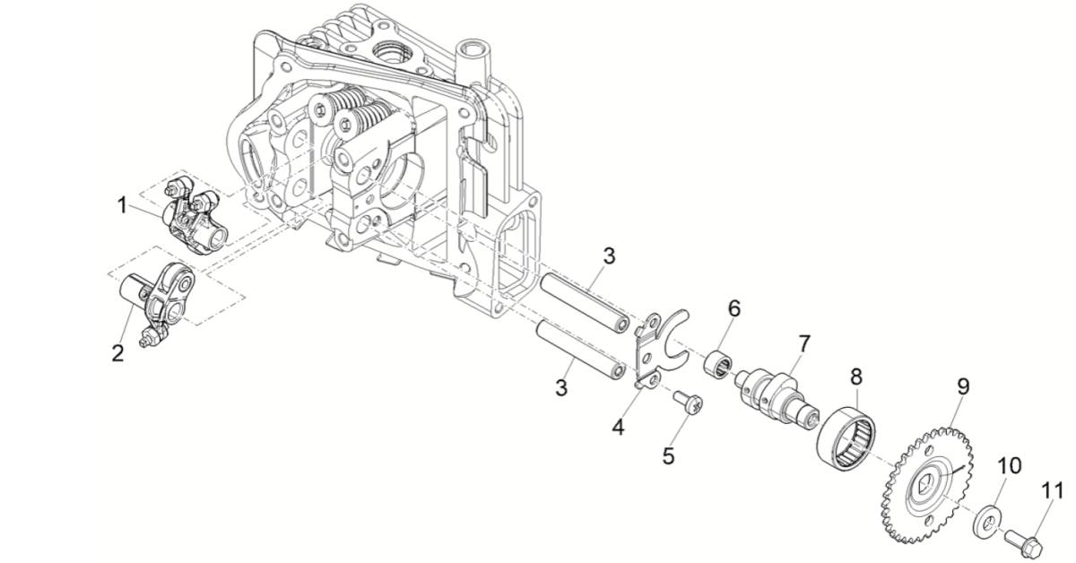
Vespa Sprint 4-Takt-Nockenwelle mit 3 Ventilen (Euro5-Einspritzung IGET)

Vespa Sprint 4-Takt-Nockenwelle mit 3 Ventilen (Euro5-Einspritzung IGET)
loader
Wird geladen...

Parts Vespa Sprint 4-stroke 3V Euro 5 2021-> Iget)