USP Icon
Zahlung nach der Lieferung
USP Icon
Kunden bewerten Zandri mit 9
USP Icon
Mehr als 100.000 Teile im Sortiment

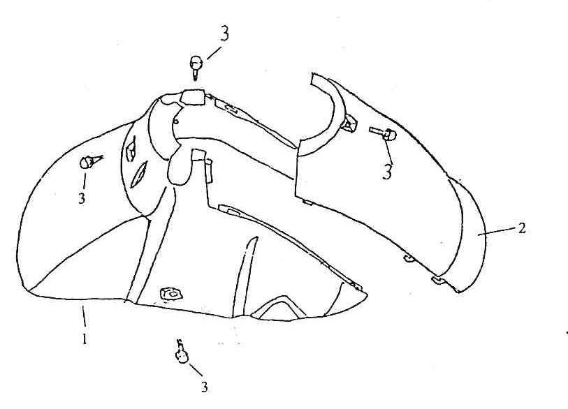
Kotflügel vorne Eagle-Wing Torino blau weiß

Kotflügel vorne Eagle-Wing Torino blau weiß
loader
Wird geladen...

Erstazteile Eagle-Wing Torino Blau Weiß