USP Icon
Zahlung nach der Lieferung
USP Icon
Kunden bewerten Zandri mit 9
USP Icon
Mehr als 100.000 Teile im Sortiment

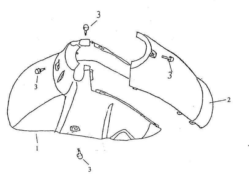
Kotflügel vorne BTC Grande Retro schwarz

Kotflügel vorne BTC Grande Retro schwarz
loader
Wird geladen...

Erstazteile BTC Grande Retro Schwarz