USP Icon
Zahlung nach der Lieferung
USP Icon
Kunden bewerten Zandri mit 9
USP Icon
Mehr als 100.000 Teile im Sortiment

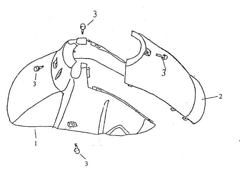
Kotflügel vorne Fosti Retro weiß schwarz

Kotflügel vorne Fosti Retro weiß schwarz
loader
Wird geladen...

Erstazteile Fosti Grande Retro Weiß Schwarz