USP Icon
Zahlung nach der Lieferung
USP Icon
Kunden bewerten Zandri mit 9
USP Icon
Mehr als 100.000 Teile im Sortiment

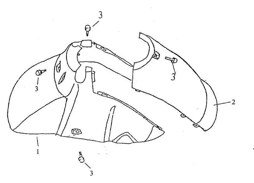
Kotflügel vorne Rover Exclusive rot

Kotflügel vorne Rover Exclusive rot
loader
Wird geladen...

Erstazteile Rover Exclusive Rot