USP Icon
Zahlung nach der Lieferung
USP Icon
Kunden bewerten Zandri mit 9
USP Icon
Mehr als 100.000 Teile im Sortiment

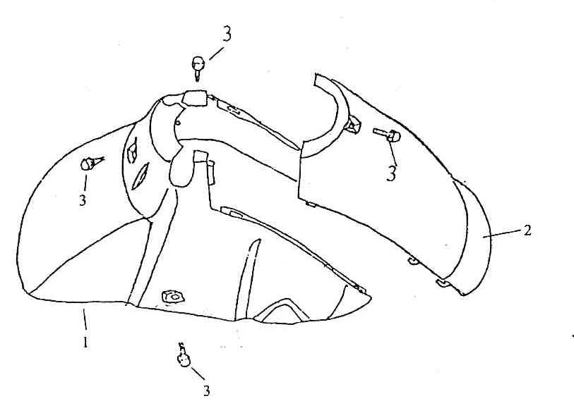
Kotflügel vorne Vom Bella Retro gelb creme

Kotflügel vorne Vom Bella Retro gelb creme
loader
Wird geladen...

Erstazteile Vom Bella Retro Gelb Beige