USP Icon
Zahlung nach der Lieferung
USP Icon
Kunden bewerten Zandri mit 9
USP Icon
Mehr als 100.000 Teile im Sortiment

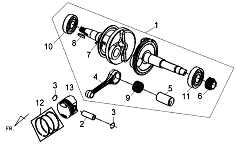
Sym Allo Kurbelwelle (WH871) Champagner

Sym Allo Kurbelwelle (WH871) Champagner
loader
Wird geladen...

Erstazteile Sym Allo (WH871) Champagne