USP Icon
Zahlung nach der Lieferung
USP Icon
Kunden bewerten Zandri mit 9
USP Icon
Mehr als 100.000 Teile im Sortiment

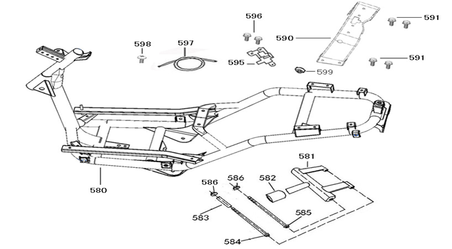
Rahmenteile Neco Lola cream grey

Rahmenteile Neco Lola cream grey
loader
Wird geladen...

Erstazteile Neco Lola Beige Grau