USP Icon
Zahlung nach der Lieferung
USP Icon
Kunden bewerten Zandri mit 9
USP Icon
Mehr als 100.000 Teile im Sortiment

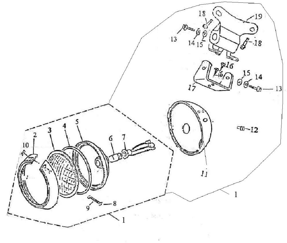
Scheinwerfer Fosti Retro pink

Scheinwerfer Fosti Retro pink
loader
Wird geladen...

Erstazteile Fosti Grande Retro Rosa