USP Icon
Zahlung nach der Lieferung
USP Icon
Kunden bewerten Zandri mit 9
USP Icon
Mehr als 100.000 Teile im Sortiment

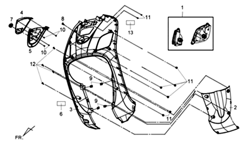
Scheinwerferfrontplatte Sym Fiddle III (BR497U) mattbraun

Scheinwerferfrontplatte Sym Fiddle III (BR497U) mattbraun
loader
Wird geladen...