USP Icon
Zahlung nach der Lieferung
USP Icon
Kunden bewerten Zandri mit 9
USP Icon
Mehr als 100.000 Teile im Sortiment

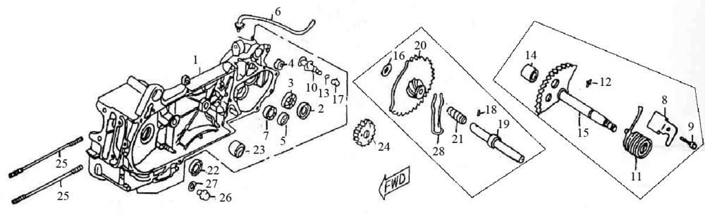
Kurbelgehäuseteile Lintex Retro 125cc

Kurbelgehäuseteile Lintex Retro 125cc
loader
Wird geladen...