USP Icon
Zahlung nach der Lieferung
USP Icon
Kunden bewerten Zandri mit 9
USP Icon
Mehr als 100.000 Teile im Sortiment

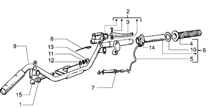
Lenkungsteile 2 Piaggio Liberty 4-Takt bis 2005

Lenkungsteile 2 Piaggio Liberty 4-Takt bis 2005
loader
Wird geladen...

Erstazteile Piaggio Liberty 4-Takt <2005