USP Icon
Zahlung nach der Lieferung
USP Icon
Kunden bewerten Zandri mit 9
USP Icon
Mehr als 100.000 Teile im Sortiment

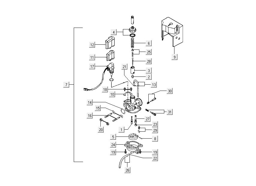
Vergaser - Choke Kymco Super9 Wechselstrom O.M Race Schwarz Gelb

Vergaser - Choke Kymco Super9 Wechselstrom O.M Race Schwarz Gelb
loader
Wird geladen...

Erstazteile Kymco Super9 AC altes Modell Race Schwarz Gelb