USP Icon
Zahlung nach der Lieferung
USP Icon
Kunden bewerten Zandri mit 9
USP Icon
Mehr als 100.000 Teile im Sortiment

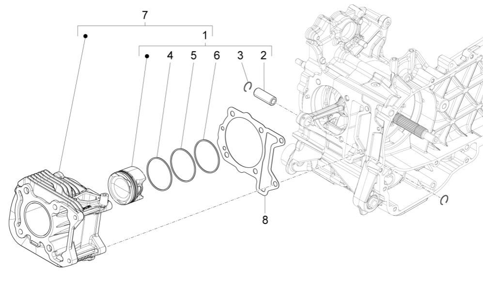
Zylinder Piaggio Liberty 125 4-Takt 3V IE ABS (IGET Euro 5)

Zylinder Piaggio Liberty 125 4-Takt 3V IE ABS (IGET Euro 5)
loader
Wird geladen...

Onderdelen Piaggio Liberty 125 4-takt 3V IE ABS E5 2020-2022 (EMEA)