Technische Zeichnungen Yamaha FS1
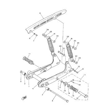
Die technischen Zeichnungen oder Explosionszeichnungen des Yamaha FS1 Scooters, für den Sie Teile oder Zubehör suchen. Die technischen Zeichnungen der Yamaha FS1 geben Ihnen einen klaren Überblick über die verschiedenen Beschlagteile und das Zubehör. Wenn Sie nach Ihren Teilen suchen, haben Sie immer die richtigen Teile für Ihr Yamaha FS1.


