USP Icon
Zahlung nach der Lieferung
USP Icon
Kunden bewerten Zandri mit 9
USP Icon
Mehr als 100.000 Teile im Sortiment

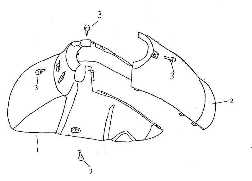
Kotflügel vorne Viraggio Retro orange

Kotflügel vorne Viraggio Retro orange
loader
Wird geladen...

Viraggio Sensa Euro2 <2018