USP Icon
Zahlung nach der Lieferung
USP Icon
Kunden bewerten Zandri mit 9
USP Icon
Mehr als 100.000 Teile im Sortiment

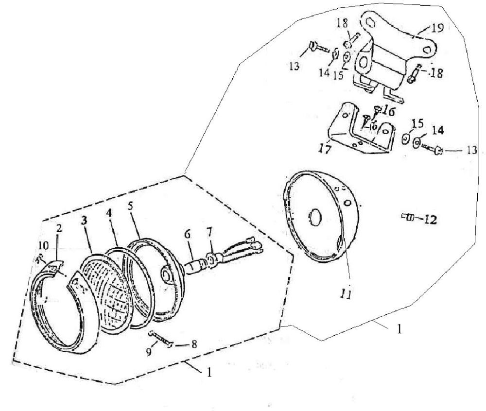
Scheinwerfer Rover Exclusive Kaffeecreme

Scheinwerfer Rover Exclusive Kaffeecreme
loader
Wird geladen...

Erstazteile Rover Exclusive Kaffee Beige