USP Icon
Zahlung nach der Lieferung
USP Icon
Kunden bewerten Zandri mit 9
USP Icon
Mehr als 100.000 Teile im Sortiment

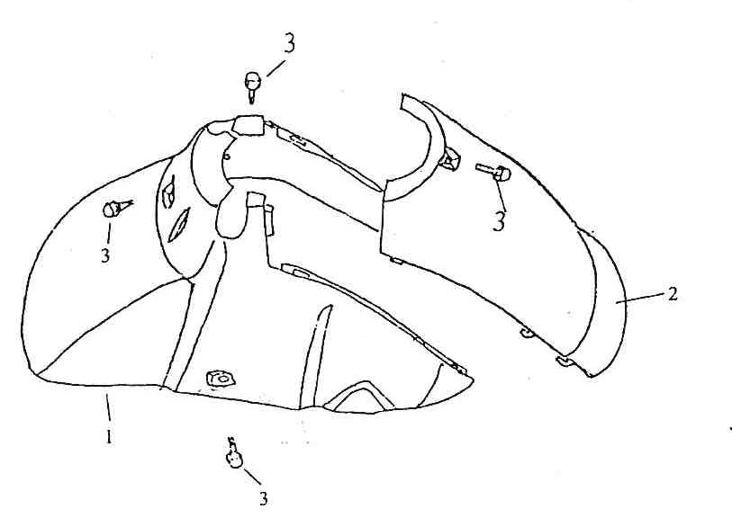
Kotflügel vorne Rover Exclusive Kaffeecreme

Kotflügel vorne Rover Exclusive Kaffeecreme
loader
Wird geladen...

Erstazteile Rover Exclusive Kaffee Beige