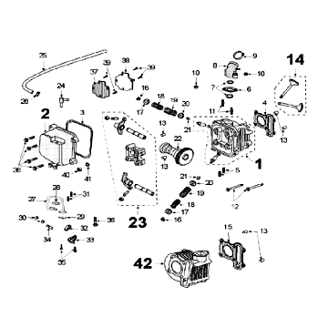
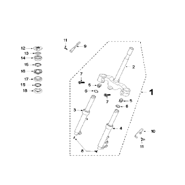
Teile und Zubehör für Peugeot V-clic Black
Klicken Sie hier auf die richtige Version des Peugeot V-clic Black Scooters, für den Sie nach Teilen oder Zubehör suchen. Die technischen Zeichnungen des Peugeot V-clic Black geben Ihnen einen klaren Überblick über die verschiedenen Beschlagteile und das Zubehör. Die originalen Peugeot V-clic Black Teile passen natürlich am besten.


